
合肥中典包装技术有限公司
金牌会员
已认证

合肥中典包装技术有限公司
金牌会员
已认证
在粉体行业智能化转型加速的当下,企业对包装环节的要求早已超越“简单封装”,朝着高效、精准、低耗、合规的方向升级。合肥中典包装技术有限公司,作为专注于粉体全自动称重包装码垛解决方案的核心供应商,以多项核心专利技术为支撑,精准契合行业趋势,为精细化工、医药粉剂、新能源材料等领域提供定制化、高性价比的包装设备与交钥匙工程,成为粉体企业升级路上的“硬核伙伴”。

01专利赋能,破解粉体包装核心痛点
粉体物料特性复杂,易扬尘、流动性差异大,包装环节的破袋、称量不准、清洁困难等问题长期困扰行业。合肥中典深耕技术研发,累计斩获多项核心专利,精准击破行业痛点:
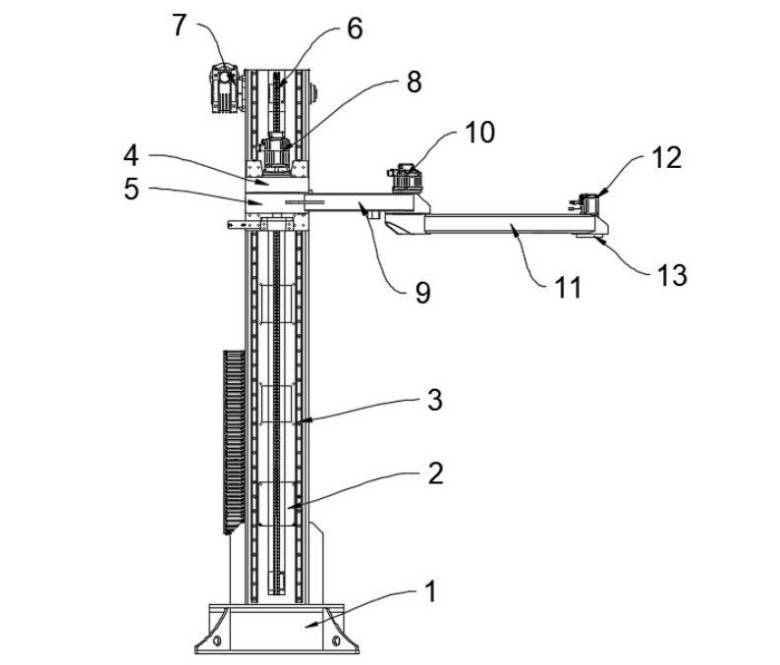
针对小袋粉体入箱码垛的破袋难题,合肥中典研发的“满足小袋入箱码垛的机器人”堪称行业利器。该专利设备通过多电机驱动系统与精准姿态调节设计,实现大臂、小臂与负载块的协同联动,可将小袋物料依次堆放到周转箱的底部,从而有效解决传统关节臂机器人将物料从周转箱上扔下,导致物料袋出现破袋的情况产生。

面对不同行业对包装袋型的差异化需求,“分离式内袋外袋全自动上袋机”打破传统技术限制。传统上袋机要求内袋外袋做成一体,才能实现上袋,本发明只要内袋超出外袋50—70mm,就可以实现自动上袋功能,通过开内袋,带动外袋一起打开,然后通过类似夹爪的撑袋指把内外袋一起撑开的方式,实现袋口分离式包装袋的自动上袋过程。

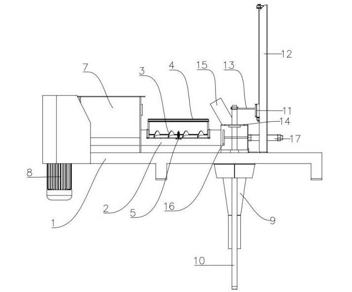
针对粉体供料环节的清洁与真空包装需求,“具有清料功能的抽气供料装置”给出完美解决方案。通过设置筒盖和底板,通过快装夹钳能够快速打开或关闭筒盖和底板,能够方便清理供料筒内部和底部的物料;通过截料气缸驱动截料板关闭供料筒输料端,然后抽气气缸控制抽气滤芯对包装袋进行抽气,使得能够对物料进行真空包装。

02全链覆盖,适配多场景自动化需求
当下粉体企业不仅追求单一设备的高效,更渴望全流程自动化的“一站式解决方案”。合肥中典构建了从称量、包装到码垛的完整产品线,涵盖CJT净重称量吨包系统、CZS精简型全自动称重包装成套设备、JDG龙门式码垛机、拆包机等核心设备,可根据客户产能、物料特性、场地大小定制专属生产线,实现“进料—称量—包装—封口—码垛”全流程无人化操作。
针对大产能需求,CJT净重称量吨包系统可灌装900—1800mm不同规格大袋,每小时产能达60袋,还可搭配托盘排出辊道与空托盘自动仓库,实现规模化生产。

针对中小产能与紧凑场地,CZS精简型全自动称重包装成套设备结构紧凑,可轻松嵌入现有生产线,支持自落式、皮带式、螺旋式等多种给料方式,适配50目内粗粉与颗粒物料,包装袋更换通过PLC监控自动完成,无需人工干预。

针对有限场地的码垛需求,JDG龙门式码垛机结构坚固紧凑,机械臂可适配多种抓取装置,精准处理袋子、盒子等不同物料,兼顾效率与空间利用率。

从精细化工的腐蚀性粉体,到医药行业的高卫生标准粉剂,再到新能源材料的高精度包装需求,合肥中典设备均能通过材质升级、工艺优化实现精准适配,严格遵循各行业合规要求,为客户规避生产风险。
03品质筑基,筑牢行业信赖根基
在自动化浪潮下,设备的稳定性与售后服务效率直接影响企业生产连续性。合肥中典所有设备的设计、研发与制造均在自有生产基地完成,由专业工程师全程监督,严格遵循ISO 9001认证标准,从源头保障设备品质;同时建立高效的售后服务体系,实现交付准时化、售后响应快速化,为客户解决设备安装、调试、维护的后顾之忧。
如果您正面临粉体包装效率低、损耗大、适配难等痛点,不妨联系合肥中典包装技术有限公司,获取专属自动化包装码垛解决方案!
参考来源:
爱企查、合肥中典包装技术有限公司粉体网企业展台
最新动态
更多
请拨打厂商400电话进行咨询
使用微信扫码拨号